Go调度器GPM


参考:

Golang源码探索(二) 协程的实现原理

Goroutine调度机制

Go 调度器

深入Go语言 - 8

golang 在 runtime 中的一些骚东西




1.基础


1.1 关于运行时


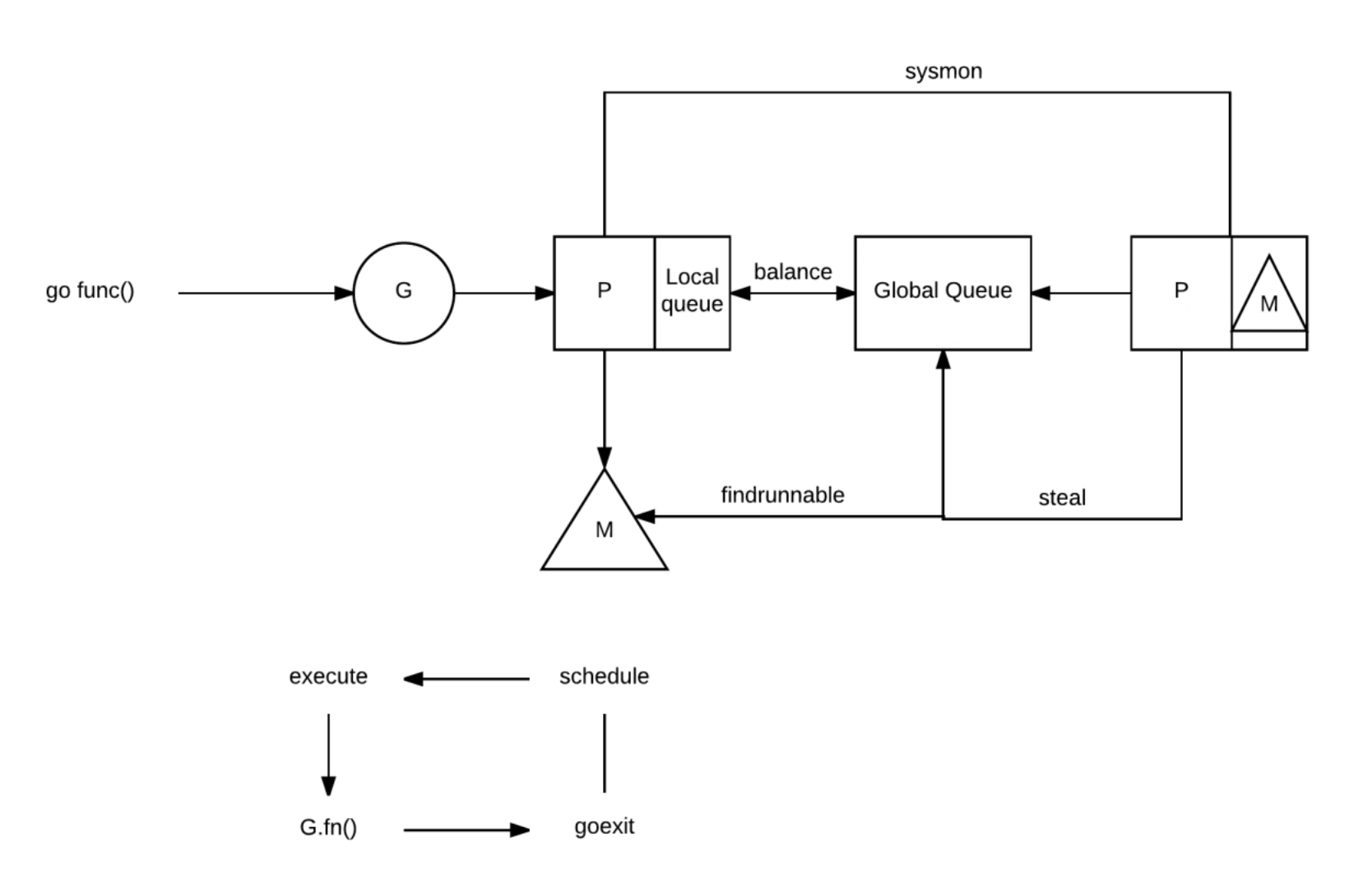
Go的运行时(runtime)管理着调度(scheduler)垃圾回收(GC)以及goroutine的运行环境,此篇只探讨调度

Go的运行时负责运行goroutine, 并把它们映射到操作系统的线程(thread,包含在进程之中, 是进程中的实际运作单位, 是独立调度和分派的基本单位)上。goroutine比线程还轻量, 启动的时候花费很少.

每个goroutine都是由一个 G 结构来表示,这个结构体的字段用来跟踪此goroutine的栈(stack)和状态,

所以可以认为G = goroutine


runtime 管理着 G 并把它们映射到Logical Processor(称之为P ).

P 可以看作是一个抽象的资源或者一个上下文,它需要获取以便操作系统线程(称之为 M )可以运行 G

通过 runtime.GOMAXPROCS (numLogicalProcessors) 可以控制多少P可以获取


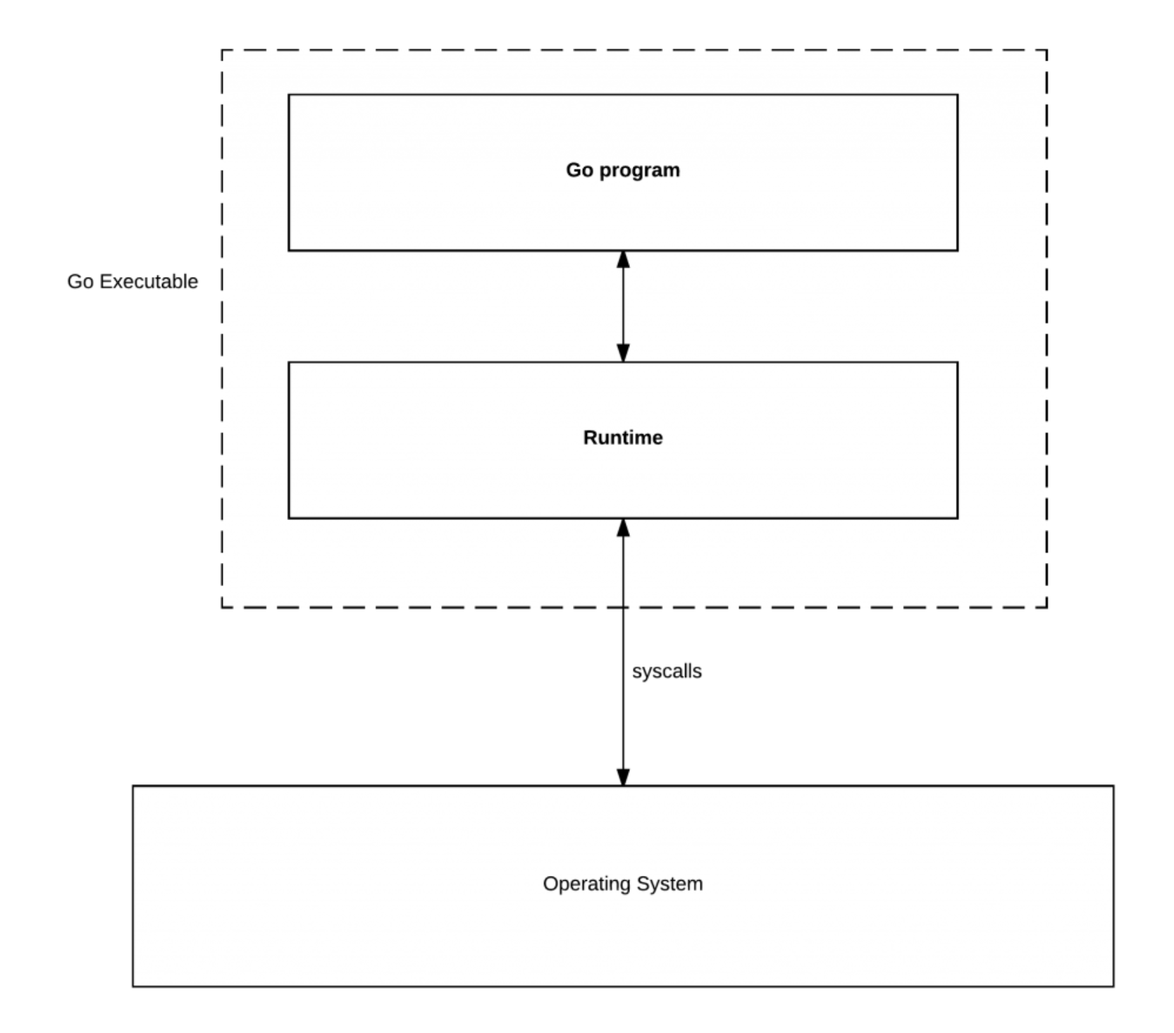
操作系统运行线程线程运行你的代码。Go的技巧是编译器会在Go运行时的一些地方插入系统调用,(如通过channel发送值,调用runtime包等),所以Go可以通知调度器执行特定的操作。




2. GPM之间的交互


G :

Goroutine,每个Goroutine对应一个G结构体,G存储Goroutine的运行堆栈、状态以及任务函数,可重用。

P :

Processor,是一个抽象的概念,代表了Machine所需的上下文环境(context),是处理用户级代码逻辑的处理器。可译为”逻辑处理器”,G只有绑定到P上才可以被调度,存放Goroutine队列(local runqueue),P的数量决定了系统真正可并行的最大G数量,P的数量由GOMAXPROCS()决定。

M :

Machine Thread, 指go语言对一个关联的内核线程的封装。 OS线程,G所依赖的系统级线程,亦即真正执行计算的资源,M里面维护了小对象内存,当前执行的goroutine,以及其他很多信息。

Local Runqueue :

本地运行队列

由P所维护的G队列,每次从local runqueue中取出可执行的Goroutine

Global Runbqueue :

全局运行队列

由go调度器所维护的全局G队列,当Local Runqueue中没有G的时候,P就会从Global Runqueue中取出可执行的G



Go运行时 存在两种类型的queue: 一种是一个全局的queue(在schedt结构体中,很少用到), 一种是每个 P 都维护自己的 G 的queue(这样不需要加锁)

为了运行goroutine, M 需要持有上下文 PM 会从 P 的queue弹出一个goroutine并执行。

当你创建一个新的goroutine的时候(go func()),它会被放入 P 的queue。当然还有一个 work-stealing调度算法,当 M 执行了一些 G 后,如果它的queue为空,它会随机的选择另外一个 P ,从它的queue中取走一半的 G 到自己的queue中执行。(偷..)

当你的goroutine执行阻塞的系统调用时(syscall),阻塞的系统调用会中断(intercepted),如果当前有一些 G 在执行,运行时会把这个线程从 P 中摘除(detach),然后再创建一个新的操作系统的线程(如果没有空闲的线程可用的话)来服务于这个 P

当系统调用继续的时候,这个goroutine被放入到本地运行queue,线程会park它自己(休眠), 加入到空闲线程中。

如果一个goroutine执行网络调用,运行时会做类似的动作。调用会被中断,但是由于Go使用集成的network poller,它有自己的线程,所以还给它。

Go运行时会在下面的goroutine被阻塞的情况下运行另外一个goroutine:

  • blocking syscall (for example opening a file),
  • network input,
  • channel operations,
  • primitives in the sync package.



3.Goroutine调度机制


3.1 GPM都是如何被创建出来

G :

在可执行函数前面加关键字go即可,这样便创建出了一个Goroutine,创建出的Goroutine会进入P所维护的Local Runqueue

P :

指定GOMAXPROCS之后,会在程序运行之初创建好对应数目的P

M :

当满足以下三个条件以后,M就会被创建:
1.队列中G太多

2.系统级线程M太少

3.有空闲的P


3.2 M和P之间的调度


P是在程序运行之初就创建好的,数量由GOMAXPROCS决定(最大256个),从go1.5以后默认即CPU的核数,1.5之前默认是一个。P绑定到M上执行运算,当一个OS线程也就是一个M陷入阻塞的时候,会释放出P,P转而寻找另一个M(M可能是被新创建,也可能来自于线程缓存),继续执行其他G,如果没有其他的idle M,但是P的local runqueue中仍有G需要执行,就会创建一个新的M。

当上述阻塞完成后,G会尝试寻找一个idle的P进入它的Local Runqueue中恢复执行,如果没有找到,G就会进入Global Runqueue,等待其他P从队列中取出。


对M&P的调度有了一个大概了解后,再继续深入理解上述的阻塞,什么情况下会阻塞呢?如下:

  • blocking syscall (for example opening a file)
  • network input (已通过netpoller实现了网络I/O阻塞不会导致M被阻塞,仅阻塞G)
  • channel operations
  • primitives in the sync package

这四种场景又可以分为两种类型:


用户态阻塞与唤醒


当goroutine因为channel操作或者network I/O而阻塞时(实际上golang已经用netpoller实现了goroutine网络I/O阻塞不会导致M被阻塞,仅阻塞G,这里仅仅是举个例子),对应的G会被放置到某个wait队列(如channel的waitq),该G的状态由_Gruning变为_Gwaitting,而M会跳过该G尝试获取并执行下一个G,如果此时没有runnable的G供M运行,那么M将解绑P,并进入sleep状态;当阻塞的G被另一端的G2唤醒时(比如channel的可读/写通知),G被标记为runnable,尝试加入G2所在P的runnext,然后再是P的Local队列和Global队列。


系统调用阻塞


当G被阻塞在某个系统调用上时,此时G会阻塞在_Gsyscall状态,M也处于 block on syscall 状态,此时的M可被抢占调度:执行该G的M会与P解绑,而P则尝试与其它idle的M绑定,继续执行其它G。如果没有其它idle的M,但P的Local队列中仍然有G需要执行,则创建一个新的M;当系统调用完成后,G会重新尝试获取一个idle的P进入它的Local队列恢复执行,如果没有idle的P,G会被标记为runnable加入到Global队列。




3.3 P和G之间的调度


G维护在P所维持的Local Runqueue以及调度器维持的Global Runqueue中。

一、首先需要搞清楚Local Runqueue的入队出队操作。

  • 出队:

    首先讲出队,每次执行一个G,P会从Local Runqueue中获取一个G执行,此为出队操作。

  • 入队:

    每次用go关键字创建出来的Goroutine会进入P的Local Runqueue中,包括上述用户态阻塞后被唤醒的G的操作为入队操作。

  • 其次

    当一个P的Local Runqueue中没有可供执行的G后,该P会随机从其他P的队列中拿一半的G出来,这叫work stealing算法,这又是另一种入队出队操作。


二、然后讲Global Runqueue的入队出队操作

  • 入队:

    当M所运行的阻塞状态的G重新唤醒后,如果没有获取到空闲的P,这个G就会进入Global Runqueue中,此为入队。

  • 出队:

    其他P没有可执行的G之后描绘直接从Global Runqueue中取,此为出队。


总结:P调度G的时候,首先从P的Local Runqueue中获取G,

如果Local Queue中没有的话,就从Global Runqueue中获取,

如果Global Runqueue中也没有的话,就随机从其他P的Local Runqueue中偷一半的G出来。

P相当于在G和M之间加了一个中间处理层,是一个broker,更直白说,像个拉皮条的,撮合无数的G和有限的M




4. 跟踪调试


1
2
3
4
5
6
7
8
9
10
11
12
13
14
15
16
17
18
19
20
21
22
23
24
25
26
27
28
package main

import (
"sync"
"time"
)

func main() {

var wg sync.WaitGroup

print("123...")

wg.Add(1)

go func() {

print("567...")
time.Sleep(2e9)
wg.Done()

}()

wg.Wait()

print("789...")

}

Go可以跟踪运行时(runtime)的调度器(scheduler),是通过 GODEBUG 环境变量实现的:

1
$ GODEBUG=scheddetail=1,schedtrace=1000 ./program

注意输出使用了 GMP的概念以及它们的状态, 比如P的queue的大小。

输出为:

1
2
3
4
5
6
7
8
9
10
11
12
13
14
15
16
17
18
19
20
21
22
23
24
25
26
27
28
29
30
31
32
33
34
SCHED 0ms: gomaxprocs=4 idleprocs=2 threads=3 spinningthreads=1 idlethreads=0 runqueue=0 gcwaiting=0 nmidlelocked=0 stopwait=0 sysmonwait=0

P0: status=1 schedtick=0 syscalltick=0 m=0 runqsize=1 gfreecnt=0
P1: status=1 schedtick=0 syscalltick=0 m=2 runqsize=0 gfreecnt=0
P2: status=0 schedtick=0 syscalltick=0 m=-1 runqsize=0 gfreecnt=0
P3: status=0 schedtick=0 syscalltick=0 m=-1 runqsize=0 gfreecnt=0
M2: p=1 curg=-1 mallocing=0 throwing=0 preemptoff= locks=1 dying=0 spinning=false blocked=false lockedg=-1
M1: p=-1 curg=-1 mallocing=0 throwing=0 preemptoff= locks=1 dying=0 spinning=false blocked=false lockedg=-1
M0: p=0 curg=-1 mallocing=0 throwing=0 preemptoff= locks=1 dying=0 spinning=false blocked=false lockedg=1
G1: status=1() m=-1 lockedm=0
G2: status=1() m=-1 lockedm=-1
G3: status=1() m=-1 lockedm=-1
G4: status=1() m=-1 lockedm=-1

123...567...SCHED 1008ms: gomaxprocs=4 idleprocs=4 threads=5 spinningthreads=0 idlethreads=3 runqueue=0 gcwaiting=0 nmidlelocked=0 stopwait=0 sysmonwait=0

P0: status=0 schedtick=1 syscalltick=1 m=-1 runqsize=0 gfreecnt=0
P1: status=0 schedtick=3 syscalltick=0 m=-1 runqsize=0 gfreecnt=0
P2: status=0 schedtick=0 syscalltick=0 m=-1 runqsize=0 gfreecnt=0
P3: status=0 schedtick=0 syscalltick=0 m=-1 runqsize=0 gfreecnt=0
M4: p=-1 curg=-1 mallocing=0 throwing=0 preemptoff= locks=0 dying=0 spinning=false blocked=true lockedg=-1
M3: p=-1 curg=-1 mallocing=0 throwing=0 preemptoff= locks=0 dying=0 spinning=false blocked=true lockedg=-1
M2: p=-1 curg=-1 mallocing=0 throwing=0 preemptoff= locks=0 dying=0 spinning=false blocked=true lockedg=-1
M1: p=-1 curg=-1 mallocing=0 throwing=0 preemptoff= locks=1 dying=0 spinning=false blocked=false lockedg=-1
M0: p=-1 curg=6 mallocing=0 throwing=0 preemptoff= locks=0 dying=0 spinning=false blocked=true lockedg=-1
G1: status=4(semacquire) m=-1 lockedm=-1
G2: status=4(force gc (idle)) m=-1 lockedm=-1
G3: status=4(GC sweep wait) m=-1 lockedm=-1
G4: status=4(GC scavenge wait) m=-1 lockedm=-1
G5: status=4(sleep) m=-1 lockedm=-1
G6: status=3() m=0 lockedm=-1


789...

如果不想关心这些细节,可以使用:

1
$ GODEBUG=schedtrace=1000 ./program

输出为:

1
2
3
4
5
SCHED 0ms: gomaxprocs=4 idleprocs=1 threads=5 spinningthreads=1 idlethreads=0 runqueue=0 [0 0 0 0]

123...567...SCHED 1002ms: gomaxprocs=4 idleprocs=4 threads=5 spinningthreads=0 idlethreads=3 runqueue=0 [0 0 0 0]

789...

更多参考:

Scheduler Tracing In Go

除此,还可以使用golang自己的工具 go tool trace, 它有一个UI, 用来查看程序运行时的状况.



更多值得一读:

Golang调度器源码分析

Goroutine与GMP模型

30+张图讲解:Golang调度器GMP原理与调度全分析

大神是如何学习 Go 语言之调度器与 Goroutine

第 64 期深入浅出 Golang Runtime

GC 的认识

Golang 的 goroutine 是如何实现的?

更多关于
netpoller


值得一看:

Go 为什么这么“快”

A.) Goroutine 非常轻量,主要体现在以下两个方面:

1.上下文切换代价小: Goroutine 上下文切换只涉及到三个寄存器(PC / SP / DX)的值修改;而对比线程的上下文切换则需要涉及模式切换(从用户态切换到内核态)、以及 16 个寄存器、PC、SP…等寄存器的刷新;

2.内存占用少:线程栈空间通常是 2M,Goroutine 栈空间最小 2K;Golang 程序中可以轻松支持10w 级别的 Goroutine 运行,而线程数量达到 1k 时,内存占用就已经达到 2G。

B.) 为了更加充分利用线程的计算资源,Go 调度器采取了以下几种调度策略:

  1. 任务窃取(work-stealing)

实际执行时有的 Goroutine 运行的快,有的慢,那势必带来的问题是,忙的忙死,闲的闲死,Go 肯定不允许摸鱼的 P 存在,势必要充分利用好计算资源。

为了提高 Go 并行处理能力,调高整体处理效率,当每个 P 之间的 G 任务不均衡时,调度器允许从 GRQ,或者其他 P 的 LRQ 中获取 G 执行。

  1. 减少阻塞

如果正在执行的 Goroutine 阻塞了线程 M 怎么办?P 上 LRQ 中的 Goroutine 会获取不到调度么?

在 Go 里面阻塞主要分为一下 4 种场景:

(1).由于原子、互斥量或通道操作调用导致 Goroutine 阻塞,调度器将把当前阻塞的 Goroutine 切换出去,重新调度 LRQ 上的其他 Goroutine;

(2).由于网络请求和 IO 操作导致 Goroutine 阻塞,这种阻塞的情况下,G 和 M 又会怎么做呢?

Go 程序提供了网络轮询器(NetPoller)来处理网络请求和 IO 操作的问题,其后台通过 kqueue(MacOS),epoll(Linux)或 iocp(Windows)来实现 IO 多路复用。

通过使用 NetPoller 进行网络系统调用,调度器可以防止 Goroutine 在进行这些系统调用时阻塞 M。这可以让 M 执行 P 的 LRQ 中其他的 Goroutines,而不需要创建新的 M。有助于减少操作系统上的调度负载。

(3).当调用一些系统方法的时候,如果系统方法调用的时候发生阻塞,这种情况下,网络轮询器(NetPoller)无法使用,而进行系统调用的 Goroutine 将阻塞当前 M。

例如:

同步系统调用(如文件 I/O)会导致 M 阻塞的情况:G1 将进行同步系统调用以阻塞 M1。

调度器介入后:识别出 G1 已导致 M1 阻塞,此时,调度器将 M1 与 P 分离,同时也将 G1 带走。然后调度器引入新的 M2 来服务 P。此时,可以从 LRQ 中选择 G2 并在 M2 上进行上下文切换。

阻塞的系统调用完成后:G1 可以移回 LRQ 并再次由 P 执行。如果这种情况再次发生,M1 将被放在旁边以备将来重复使用。

(4).在 Goroutine 去执行一个 sleep 操作,导致 M 被阻塞了。

Go 程序后台有一个监控线程 sysmon,它监控那些长时间运行的 G 任务然后设置可以强占的标识符,别的 Goroutine 就可以抢先进来执行。

只要下次这个 Goroutine 进行函数调用,那么就会被强占,同时也会保护现场,然后重新放入 P 的本地队列里面等待下次执行。



协程(此处的协程指用户线程”co-routine”)跟线程是有区别的,线程由CPU调度是抢占式的,协程由用户态调度是协作式的,一个协程让出CPU后,才执行下一个协程。

老的调度器只有一个全局的G队列, 取用时需要加全局的互斥锁; 后来引入了P, 有了local sequence之后, global sequence的作用就被弱化了